首页 >> 产品中心 >> 外六角类产品 >> 开槽六角头螺钉(全牙)
开槽六角头螺钉(全牙)
 
ISO ≈4017
DIN ≈933
NEN ≈1568
ANSI ≈B18.2.3.1M
NF ≈E25-137
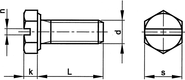
技术参数


d

P

k

s

n

M3

0,5

2

5,5

0,8

M4

0,7

2,8

7

1

M5

0,8

3,5

8

1,2

M6

1

4

10

1,6

M8

1,25

5,3

13

2


产品种类


Thread

 Driving features

Material

Class

Packaging

 Code

M

hexagon

St.St. A2

70

Standard

51012